
2023-12-01 11:25:01
CWG Markets市场资讯2023年12月1日(周五):
汇讯摘要:
周四(11月30日),美国股市尾盘反弹,11月份三大股指大获全胜,部分原因是市场猜测美联储将结束激进的加息行动。
在本月飙升3万亿美元之后,标准普尔500指数目前距离历史高点仅差5%。根据彭博社汇编的数据,11月份美国股市基准上涨超过8%,这也是该指数自2022年7月以来的最大月度涨幅。国债在历史性上涨后失去动力。美元收高,录得一年来最糟糕的一个月。
前日公布数据与消息:
美国10月核心PCE物价指数同比增速放缓至3.5%,创2021年4月以来最低水平,符合市场预期,前值为3.7%。个人收入同比增4.5%,为2022年12月以来最低水平;支出同比增5.3%,创2021年2月以来最低。
美国上周初请失业金人数升至21.8万人;至11月18日当周续请失业金人数升至192.7万人,创约两年来最高水平,表明美国劳动力市场正在降温。
欧元区11月CPI初值同比增长2.4%,为2021年7月以来最低增速,低于预期的2.7%,前值为2.9%。环比初值下降0.5%,为2020年1月以来最大降幅,预期下滑0.2%,前值增长0.1%。
最近几周,美国消费者支出、通胀和劳动力市场均降温进一步证明经济增长正在逐渐放缓。核心个人消费支出价格指数(美联储首选的潜在通胀指标)符合经济学家的预期。
Carson Group全球宏观策略师Sonu Varghese表示:“这可能会巩固货币政策拐点即将到来的预期,美联储将在2024年前6个月至少降息一次。美联储官员已经承认通胀正在放缓,而且在经济强劲和失业率较低的情况下可能会出现这种情况,这基本上为降息奠定了基础。”
eToro分析师Callie Cox表示,目前来看,在事实证明之前,这是一个牛市。“美联储官员正在公开谈论通胀进展和降息前景。只要美联储的说法坚持下去,对利率敏感的行业就可能继续渴望降息。不过,请小心行事。经济正在放缓,衰退的风险仍然存在。”
对于股市乐观主义者来说,这是一个有利的迹象,彭博资讯的经济体制指数模型显示,美国宏观经济最糟糕的时期似乎已经过去。
Economic Regime Index是一种由Bloomberg Intelligence开发的模型,用于衡量美国经济的状态。这个指数在今年早些时候从2022年底的低点几乎完全反弹,但在上个月又降至衰退领域。
Bloomberg Intelligence首席股票策略Gina Martin Adams表示:“尽管这个模型仍然表明可能会出现经济疲软,但只要它保持在较低水平之上,对标普500前景来说就是有利的。”
Strategas的Chris Verrone表示:“随着非凡的11月即将结束,本周客户经常提出的问题是11月的强劲表现是否会抢走典型的12月圣诞老人行情的表现。”
交易者也继续密切关注美国官员的最新言论。纽约联储主席约翰·威廉姆斯重申基准贷款利率已达到或接近峰值,并表示政策“相当严格”。旧金山联储主席玛丽·戴利表示,利率处于控制通胀的“非常好的位置”,尽管她没有考虑降息,而且现在说加息是否结束还为时过早。
瑞银全球财富管理高级美国经济学家Brian Rose表示,“现在消除美联储前瞻性指引中的紧缩偏见还为时过早。美联储主席杰罗姆·鲍威尔将于周五公开露面,我们预计他将小心谨慎,避免听起来过于鸽派。”
盈透证券分析师Jose Torres认为,如果鲍威尔发表更多鸽派言论,疲软的经济数据可能会让市场上涨。然而,最近的进展仅提供了一个中等程度的乐观窗口,因为鲍威尔已经强调,美联储希望在央行开始大幅降息之前看到通胀长期放缓的证据。
“如果他维持鹰派立场,否定明年初降息的希望,那么今天的数据可能只是类似于2月份的一天出奇的暖和,给人一种春天来临的错觉,但实际上可能只是短暂的好天气,冬季寒冷的日子还未过去。同样,如果鲍威尔维持鹰派立场,明年初可能降息的悲观情绪可能会引发市场波动。”
美元指数技术分析:
美指周四上涨在103.60之下遇阻,下跌在102.70之上受到支持,意味着美元短线下跌后有可能保持上涨的走势。如果美指今天下跌在102.90之上企稳,后市上涨的目标将会指向103.85--104.15之间。今天美指短线阻力在103.80--103.85,短线重要阻力在104.10--104.15。今天美指短线支持在103.20--103.25,短线重要支持在102.90--102.95。
欧元/美元技术分析:
欧美周四下跌在1.0870之上受到支持,上涨在1.0985之下遇阻,意味着欧美短线上涨后有可能保持下跌的走势。如果欧美今天上涨在1.0960之下遇阻,后市下跌的目标将会指向1.0845--1.0800之间。今天欧美短线阻力在1.0915--1.0920,短线重要阻力在1.0955--1.0960。今天欧美短线支持在1.0845--1.0850,短线重要支持在1.0800--1.0805。
黄金技术分析:
黄金周四下跌在2031.00之上受到支持,上涨在2048.00之下遇阻,意味着黄金短线上涨后有可能保持下跌的走势。如果黄金今天上涨在2045.00之下遇阻,后市下跌的目标将会指向2029.00--2022.00之间。今天黄金短线阻力在2044.00--2045.00,短线重要阻力2053.00--2054.00。今天黄金短线支持在2029.00--2030.00,短线重要支持在2022.00--2023.00。
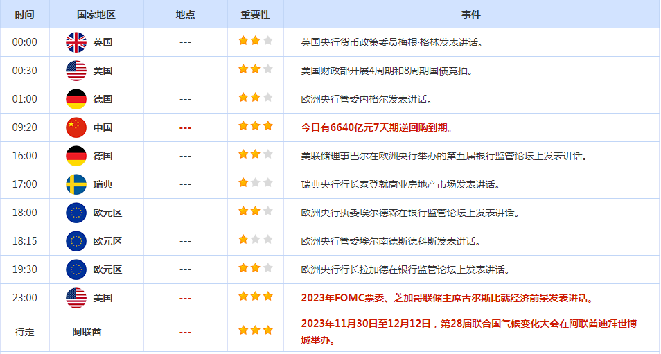
主要财经数据:







返回外汇网首页,查看更多>>